Dodaj produkty podając kody
Dodaj plik CSV
Wpisz kody produktów, które chcesz zbiorczo dodać do koszyka (po przecinku, ze spacją lub od nowej linijki).
Powtórzenie wielokrotnie kodu, doda ten towar tyle razy ile razy występuje.
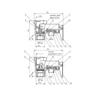
Rura do zbiornika naziemnego LPG
wyposażona w kompensator i półśrubunek. Rura do zbiornika LPG umożliwia montaż z reduktorem I stopnia oraz połączenie z rurą polietylenową.
Znajdująca się tam kompensacja zapewnia nam zachowanie szczelności przy możliwym osadzaniu się zbiornika.
Marka
Symbol
W901-08-0753-05
Rodzaj towaru
Osprzęt i akcesoria do instalacji gazowych
EAN
5903244191648
Kod producenta
01-08-0753-05
Strona www producenta
www.weba.com.pl
Zapytaj o produkt












